榴莲 2025-11-07
近日,为贴合智能化趋势,并精准匹配医疗电子、汽车电子及智能家电等终端设备对压力测量的“高可靠性、高集成度、高灵敏度、高精度”等核心需求,助力传感器融入智能系统,华普微推出了全新的HPSxxxGSR系列高精度数字型表压传感器。

HPSxxxGSR系列传感器采用小尺寸单管口SOP封装,符合RoHS标准,内部集成MEMS压力芯片与信号调理芯片,带高速I2C接口,可通过24位ADC对传感器的零点、灵敏度、温漂和非线性进行数字补偿,从而输出一个与施加压力呈线性的信号,尤其适用于对成本敏感且要求严苛的OEM应用。

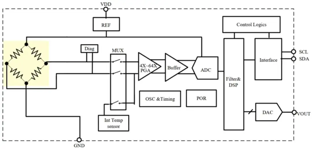
HPSxxxGSR——系统功能框图
01、产品特性
HPSxxxGSR系列传感器具备优异的线性度表现,如下数字输出特性曲线图(AD值与压力值的关系曲线)所示,在规定的压力测量范围(Pmin至Pmax)内,AD值与压力值呈“严格的线性对应关系”,非线性误差极低,可有效提升终端产品的压力测量或控制精度水准。

HPSxxxGSR——Counts VS Pressure (kPa)
例如,在智能电子血压计中,线性度优异的压力传感器意味着血压读数更准确,可为医生后续的诊断和治疗决策提供更加可靠的数据依据;
在制氧机中,线性度优异的压力传感器可助力制氧机精准测量压力参数,从稳定供氧压力以适配患者呼吸需求,确保流量稳定性。

HPSxxxGSR——最大额定参数
同时,HPSxxxGSR系列传感器具备-0.3V至6.5V的宽电压适应性,能在多种供电环境下稳定工作;
并可承受3倍满量程的过载压力和5倍满量程的爆破压力,不会因过载而损坏或性能漂移,可维持高精度测量的持续性,安全冗余度极高。
02、支持高自由度开发设置
值得一提的是,HPSxxxGSR系列传感器还支持开发者通过高速I2C接口(I2C时钟频率高达400kHz,I2C设备地址默认为W:11111111 / R11111110)读写寄存器进行高自由度的自定义设置,例如:

HPSxxxGSR——寄存器描述

HPSxxxGSR——ADC转换时间
注:更多运行参数及其功能细节请访问华普微官网查阅HPSxxxGSR产品规格书。
依托二十余年成熟可靠的设计能力及封装工艺,华普微不仅具备稳定高效的交付保障,还可为各行业数字化升级提供优质的传感器解决方案。
